QSP全壓高速雙口排氣閥產品概述
QSP全壓高速雙口排氣閥是根據氣缸原理制成的不同于其他任何一種進排氣閥的全新裝置,其原理是利用浮筒杠桿等控制氣缸內氣動膜片動作,從而控制閥體排氣口啟閉。在高壓(1MPa以下)狀態下,無論是多段水柱、氣柱相間,有壓無壓氣體均可連續高速排出。本閥應豎直安裝,一般需砌窨井加以保護及防凍,與連接丁字管之間需加一同口徑地下式閥門。
QSP全壓高速雙口排氣閥是目前較好的氣缸式排氣閥,在結構性能上比普通高速(雙口)排氣閥和復合式雙口排氣閥好許多,對于管道中的氣體,無論是否多段水柱,氣柱相同,有壓無壓均可連續高速排出管道,浮球不頂在排氣口上,不存在卡壞問題,少量氣體可通過微孔排出,管道出現負壓時可注氣,防氣染并緩沖水錘升壓,解除新建管路試車之險,排氣之難減少城市管網爆管事故,減少壓力振蕩,提高整個供水系列及各種設備的安全可靠性。
QSP全壓高速雙口排氣閥部件材料
序號 | 部件名稱 | 材料名稱 | ||||
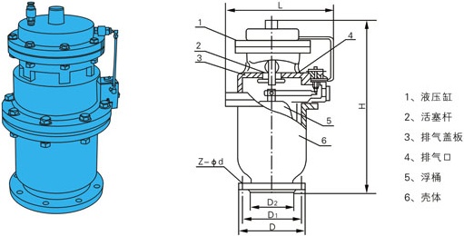
1 | 殼 體 | QT450 | WCB | CF8 | CF8M | CF3M |
2 | 排氣蓋板 | QT450 | WCB | CF8 | CF8M | CF3M |
3 | 活 塞 桿 | 06Cr19Ni10 | 06Cr19Ni10 | 06Cr19Ni10 | 06Cr17Ni12Mo2 | 022Cr17Ni12Mo2 |
4 | 浮 桶 | 06Cr19Ni10 | 06Cr19Ni10 | 06Cr19Ni10 | 06Cr17Ni12Mo2 | 022Cr17Ni12Mo2 |
5 | 膜 片 | NBR/EPDM | NBR/EPDM | NBR/EPDM | NBR/EPDM | NBR/EPDM |
6 | 液 壓 缸 | 組合件 | 組合件 | 組合件 | 組合件 | 組合件 |
7 | 螺 柱 | 304 | 304 | 304 | 316 | 316 |
8 | 螺 母 | 304 | 304 | 304 | 316 | 316 |
QSP全壓高速雙口排氣閥性能規范
公稱壓力PN(MPa) | 0.6 | 1.0 | 1.6 | 2.5 | 2.0 |
殼體強度試驗壓力(MPa) | 0.9 | 1.5 | 2.4 | 3.75 | 3.0 |
高壓水密封試驗壓力(MPa) | 0.66 | 1.1 | 1.76 | 2.75 | 2.2 |
低壓水密封試驗壓力(MPa) | 0.02 | 0.02 | 0.02 | 0.02 | 0.02 |
法蘭標準 | GB/T 17241.6-2008、JB/T 79-2015、GB/T 9113-2010、ASME B16.5-2017等 | ||||
檢驗試驗 | GB/T 13927-2008、API 598-2016 | ||||
適用介質 | 清水、原水或物理化學性質類似于水的其他液體 | ||||
工作溫度 | 0℃ ~ 80℃ | ||||
QSP全壓高速雙口排氣閥外形尺寸
公稱壓力 PN(MPa) | 公稱通徑 DN(mm) | 尺寸(mm) | ||||||
L | H | D | D1 | D2 | b-f | Z-?d | ||
1.6 | 15 | 300 | 620 | 95 | 65 | 45 | 14-2 | 4-14 |
20 | 300 | 620 | 105 | 75 | 55 | 14-2 | 4-14 | |
25 | 300 | 620 | 115 | 85 | 65 | 14-2 | 4-14 | |
32 | 300 | 620 | 135 | 100 | 78 | 16-2 | 4-18 | |
40 | 300 | 620 | 145 | 110 | 85 | 16-3 | 4-18 | |
50 | 300 | 620 | 160 | 125 | 100 | 16-3 | 4-18 | |
65 | 300 | 620 | 180 | 145 | 120 | 18-3 | 4-18 | |
80 | 500 | 620 | 195 | 160 | 135 | 20-3 | 8-18 | |
100 | 500 | 620 | 215 | 180 | 155 | 20-3 | 8-18 | |
150 | 620 | 740 | 280 | 240 | 210 | 24-3 | 8-23 | |
200 | 620 | 780 | 335 | 295 | 265 | 26-3 | 12-23 | |
250 | 620 | 820 | 405 | 355 | 320 | 30-3 | 12-25 | |
300 | 620 | 850 | 460 | 410 | 375 | 30-4 | 12-25 | |
400 | 700 | 910 | 580 | 525 | 485 | 36-4 | 16-30 | |
表中只列出了部分JB/T 79-2015標準PN16法蘭連接外形尺寸。如需其他規格尺寸,請咨詢汗越閥門! | ||||||||
QSP全壓高速雙口排氣閥結構圖

如果你需訂購我廠排氣閥產品,煩請提供型號數據,公稱通徑、公稱壓力、閥體和浮桶材質、法蘭標準及法蘭密封面形式等,如有特殊要求,咨詢時請詳細說明。
網站首頁