P41X排氣閥產品概述
P41X排氣閥是一種由閥體、閥蓋、內杯、浮球、通氣窗、密封圈和橡膠墊等組成的單一進排氣口自動進排氣閥,當輸水管道空管充水時,管中的氣體自閥門進口,通過內杯通水口和夾層上方的通氣窗由出氣口向空中排放。當氣盡水入時,水由內杯上部的通氣窗進入將浮球托起,浮球將出氣口堵死,排氣結束。當上游閥門關閉,閥后管道在水流作用下,將產生負壓時,通水口由負壓打開,閥中的水排入管道,使浮球下落,達到自動進氣的目的,最終負壓消失。
P41X排氣閥主要安裝在供水管網頂端或閉氣的地方,用來排出管內的氣體,疏通管道,使管線運轉正常,如突然停電、停泵,管內會出現負壓力引起管道振動或破裂,該閥則隨時排氣,確保給水管道安全。管線正常運行時,本產品主要用以排除從水中析出的氣體,以免空氣積在管中,減小過水斷面和增加管線的水頭損失。
P41X排氣閥部件材料
序號 | 部件名稱 | 材料名稱 | |||||
1 | 閥 體 | QT450 | WCB | CF8 | CF3 | CF8M | CF3M |
2 | 閥 蓋 | QT450 | WCB | CF8 | CF3 | CF8M | CF3M |
3 | 內 杯 | 304 | 304 | 304 | 304L | 316 | 316L |
4 | 浮 球 | 304 | 304 | 304 | 304L | 316 | 316L |
5 | 密 封 圈 | NBR | NBR | NBR | NBR | NBR | NBR |
6 | 橡 膠 墊 | NBR | NBR | NBR | NBR | NBR | NBR |
7 | 螺 栓 | 35 | 35 | 304 | 304 | 316 | 316 |
8 | 螺 母 | 45 | 45 | 304 | 304 | 316 | 316 |
P41X排氣閥性能規范
公稱壓力PN(MPa) | 0.25 | 0.6 | 1.0 | 1.6 | 2.5 | 2.0 |
殼體強度試驗壓力(MPa) | 0.375 | 0.9 | 1.5 | 2.4 | 3.75 | 3.0 |
高壓水密封試驗壓力(MPa) | 0.275 | 0.66 | 1.1 | 1.76 | 2.75 | 2.2 |
低壓水密封試驗壓力(MPa) | 0.02 | 0.02 | 0.02 | 0.02 | 0.02 | 0.02 |
法蘭標準 | GB/T 17241.6-2008、JB/T 79-2015、GB/T 9113-2010、ASME B16.5-2017等 | |||||
檢驗試驗 | GB/T 13927-2008、API 598-2016 | |||||
適用介質 | 清水、原水或物理化學性質類似于水的其他液體 | |||||
工作溫度 | 0℃ ~ 80℃ | |||||
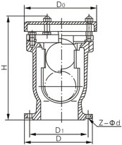
P41X排氣閥外形尺寸
公稱壓力 PN(MPa) | 公稱尺寸 DN(mm) | 尺寸(mm) | |||||
H | D0 | D | D1 | D2 | Z-?d | ||
1.0 | 25 | 245 | 175 | 115 | 85 | 65 | 4-14 |
50 | 245 | 175 | 160 | 125 | 100 | 4-18 | |
80 | 285 | 220 | 195 | 160 | 135 | 4-18 | |
100 | 315 | 240 | 215 | 180 | 155 | 8-18 | |
125 | 415 | 310 | 245 | 210 | 185 | 8-18 | |
150 | 425 | 310 | 280 | 240 | 210 | 8-23 | |
200 | 465 | 380 | 335 | 295 | 265 | 8-23 | |
250 | 485 | 425 | 390 | 350 | 320 | 12-23 | |
300 | 520 | 478 | 440 | 400 | 368 | 12-23 | |
表中只列出了部分JB/T 82.1標準PN10法蘭連接外形尺寸。如需其他規格尺寸,請咨詢汗越閥門技術部! | |||||||
P41X排氣閥結構圖

如果你需訂購我廠排氣閥產品,咨詢時煩請說明產品類型,法蘭執行標準、公稱通徑、公稱壓力、閥體材質等,我公司可按客戶需求承接定制,本產品法蘭連接的有P41X和P42X兩種型號,兩種的外形及排氣原理基本相同,只有內部結構略有差異。
網站首頁