一、總則
(一)為減少小區二網系統污堵,降低供熱人員勞動強度,提高供熱質量,編制本導則。
(二)本導則適用于我公司供熱管理范圍內新接入小區的分戶供暖系統。
(三)本導則以小區供熱系統水沖洗合格為前提,將我公司小區內供熱管道防污堵的“三級除污”(換熱站除污系統、單元熱力小室除污系統、分戶入口除污系統)方式通過采取措施變更為“二級除污”(換熱站除污系統、單元熱力小室集中除污系統),原“三級除污”中的分戶入口除污功能整合至單元熱力小室中進行集中排污。
二、換熱站除污系統
二次回水進站設除污器,選用立式擴容沉降式過濾除污器;進換熱器前二次回水管底部安裝排污閥,技術要求執行。
三、單元熱力小室除污系統
(一)進單元熱力小室組件設置(按水流方向)
供水管:“連通管+法蘭球閥+手搖刷式Y型過濾器(粗過濾,10目(2mm))+手搖刷式Y型過濾器(細過濾,80目(0.18mm))+法蘭短管(用于裝設壓力、溫度探頭)+法蘭閘閥或球閥”;
回水管:“閘閥或球閥+手搖刷式Y型過濾器(細過濾,60目(0.25mm))+法蘭短管(用于裝設壓力、溫度探頭)+熱量表+自力式壓差控制閥+法蘭短管(用于裝設壓力、溫度探頭)+法蘭球閥+連通管”。
其中:熱量表、自力式壓差控制閥、法蘭短管、連通管根據需要設置。
(二)手搖刷式Y型過濾器壓力應符合設計要求,網孔總面積不小于管道截面積的3-4倍,等管徑Y型過濾器不能滿足時可放大管徑大小頭連接;過濾網選用厚度不小于3mm不銹鋼板SU304鉆孔制作;排污口設置在過濾器下方,排污閥宜采用快開式不銹鋼球閥;排污閥公稱直徑一般為DN32-DN40,放水側安裝連接外接放水管接頭。
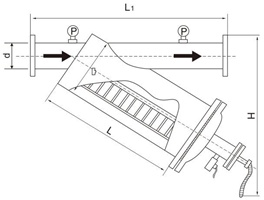
(三)手搖刷式Y型過濾器圖示:
1、外觀圖

2、原理圖

(四)單元熱力小室應設置擋水臺、地漏、排污槽等防水淹、泄水、觀察用設施、裝置。
(五)單元熱力入口應根據設計要求加裝管道沖洗用的供、回水連通閥門,該閥門宜采用球閥,管徑應與熱力小室供回水管道管徑相同。
四、樓內入戶系統
(一)樓內入戶裝置組件設置順序(按水流方向):
供水管:“鎖閉閥+分戶熱量表(根據需要設置)+數字鎖定平衡閥”;
回水管:“測溫球閥(或測溫短管,若無熱量表,取消)+電熱閥(根據熱計量技術路線確定)+鎖閉閥”。
(二)對處于鎖閉空間內的樓內入戶裝置,為使用戶能在發生室內漏水等事故時自行關斷,供熱管道入戶后應加裝供回水總閥門(選用同管徑球閥)。
(三)在進行樓內供熱系統清洗時,應將分戶熱計量裝置、溫控裝置等部件拆下并妥善存放,待清洗結束后復裝。
五、保證措施
(一)小區內供熱系統在設計時,應在低點設置排污閥,排污閥宜采用球閥或其他形式快開閥。
(二)小區內供熱系統清洗前,應編制清洗方案。方案中應包括清洗方法、技術要求、操作及安全措施等內容。
(三)小區內管道系統與樓內系統應以熱力小室為界分別獨立進行清洗。清洗前單元熱力小室中的過濾排污設備必須拆下,不得作為清洗用設備使用,待供熱系統清洗完畢后再進行復裝。
(四)小區內供熱系統的清洗應根據《建筑給排水及采暖工程施工質量驗收規范》(GB50242-2002)的相關規定執行。
(五)水力沖洗的合格標準應以排水水樣中固形物的含量接近或等于沖洗用水中固形物的含量為合格。
(六)小區內供熱系統的水沖洗、管口對接等工作應按照《紅線內委建工程管網清洗管理規定(試行)》執行。
地 址:上海市金山區興塔工業區
咨詢電話:021-5736 2601
手機號碼:138 1635 7694
電子郵箱:hanyuev@163.com
網 址:http://www.3ebezih.cn