可視Y型過濾器產品概述
可視Y型過濾器是一種不僅能對介質進行過濾,去除流體中的固體顆粒,滿足不同工況對物料純度的要求,而且能直接通過法蘭蓋上開有的視窗口觀察濾網的堵塞、破損情況,使操作員更加實時方便快捷地了解過濾器內部情況,從而及時清除過多的雜質。其可視窗口由透明材料制成的鋼化玻璃夾持在兩法蘭之間的槽內并通過連接螺栓固定在殼體濾網放置處的端口上,為增加密封效果,所述法蘭的邊緣與鋼化玻璃的邊緣之間設置有墊圈。本產品克服了當觀察Y型過濾器內部堵塞情況,需要打開底部法蘭蓋板的麻煩,不僅省力,而且非常方便。
可視Y型過濾器可以通過殼體上設置的視鏡法蘭窗口了解內部堵塞情況,方便操作員實時觀察過濾器內狀況,從而快速地解決問題,保證生產裝置可以安全長周期穩運行。
可視Y型過濾器部件材料
| 序號 | 部件名稱 | 材料名稱 | ||||
| 1 | 殼 體 | WCB | CF8 | CF3 | CF8M | CF3M |
| 2 | 殼 蓋 | WCB | CF8 | CF3 | CF8M | CF3M |
| 3 | 濾 筒 | 304 | 304 | 304L | 316 | 316L |
| 4 | 絲 網 | 304 | 304 | 304L | 316 | 316L |
| 5 | 墊 片 | GRAPHITE | PTFE | PTFE | PTFE | PTFE |
| 6 | 螺 栓 | 35CrMoA | 304 | 304 | 316 | 316 |
| 7 | 螺 母 | 30CrMo | 304 | 304 | 316 | 316 |
| 8 | 視 窗 | 鋼化硼硅玻璃 | 鋼化硼硅玻璃 | 鋼化硼硅玻璃 | 鋼化硼硅玻璃 | 鋼化硼硅玻璃 |
可視Y型過濾器性能規范
| 公稱壓力PN(MPa) | 1.0 | 1.6 | 2.5 | 4.0 | 6.3 |
| 殼體試驗壓力(MPa) | 1.5 | 2.4 | 3.75 | 6.0 | 9.6 |
| 密封性能試驗壓力(MPa) | 1.1 | 1.76 | 2.75 | 4.4 | 7.0 |
| 設計制造 | SH/T 3411-1999、HG/T 21637-1991、GB/T 14382-2008 | ||||
| 法蘭標準 | JB/T 79、GB/T 9113、HG/T 20592、HG/T 20615、SH/T 3406、ASME B16.5等 | ||||
| 檢驗試驗 | SH/T 3411-1999、HG/T 21637-1991、GB/T 14382-2008 | ||||
| 濾網規格 | 0.02mm ~ 16.0mm | ||||
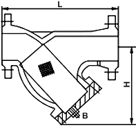
可視Y型過濾器主要尺寸
| 公稱壓力 PN | 公稱尺寸 DN | 外形尺寸/mm | 公稱壓力 PN | 公稱尺寸 DN | 外形尺寸/mm | ||
| L | H | L | H | ||||
| 16 | 15 | 134 | 60 | 16 | 125 | 350 | 205 |
| 20 | 142 | 70 | 150 | 385 | 260 | ||
| 25 | 152 | 70 | 200 | 485 | 300 | ||
| 32 | 183 | 75 | 250 | 552 | 380 | ||
| 40 | 200 | 90 | 300 | 606 | 410 | ||
| 50 | 216 | 105 | 350 | 668 | 480 | ||
| 65 | 250 | 150 | 400 | 755 | 540 | ||
| 80 | 285 | 175 | 450 | 853 | 580 | ||
| 100 | 305 | 200 | 500 | 890 | 645 | ||
| 125 | 350 | 205 | 600 | 1060 | 950 | ||
| 表中未列出的其他規格參數,請咨詢汗越閥門技術部! | |||||||
可視Y型過濾器結構圖

如果你需訂購我廠Y型過濾器系列產品,咨詢時煩請說明公稱直徑、公稱壓力、殼體和濾網材料、介質溫度、過濾精度、法蘭標準及密封面形式等,我廠生產的與本產品同系列的還有:可視T型過濾器、可視籃式過濾器等,也可按客戶需求承接定制。
網站首頁