閥門行業從業人員經常對上展式放料閥和下展式放料閥的區別有所困惑,下面我廠技術人員對上展式和下展式放料閥的適用性、 結構、 尺寸、力矩等方面進行了分析,比較上展式放料閥和下展式放料閥的區別:
一、上展式放料閥與下展式放料閥的適用性
放料閥主要用于儲料罐、 反應釜及其他容器的底部排放物料,閥門采用法蘭或對接焊與設備連接并位于其底部,消除了工藝介質通常在容器出口的殘留現象。根據實際情況的需要分為上展式、下展式做成的;上展式用于有攪拌器放料閥的反應釜放料;而下展式放料閥用于框式錨式攪拌器的反應釜放料。
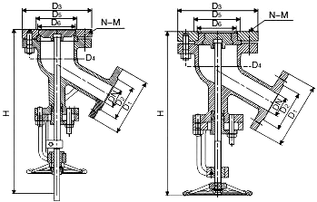
二、上展式放料閥與下展式放料閥的結構區別

三、上展式放料閥與下展式放料閥的啟閉力矩的區別
上展式放料閥為閥瓣向上運動閥門打開,打開時閥門需克服介質作用力,打開時較關閉力矩大。下展式式放料閥為閥瓣(柱塞)向下運動閥門打開,打開時運動方向與介質作用力相同,因而打開時較關閉力矩小。
四、上展式放料閥與下展式放料閥的啟閉行程的區別
啟閉行程不同,安裝尺寸有大小上展式放料閥和下展式放料閥啟閉行程小、安裝高度較小。柱塞式放料閥按柱塞結構和運動方式分為升降桿和旋轉桿兩種結構形式,升降桿結構形 式它要求有較大的安裝空間,但可依據柱塞的運動方式和位置直觀地判斷閥門的啟閉和位置。旋轉桿結構形式安裝高度最小, 在啟閉過程中柱塞只做旋轉運動,它要依據帶有啟閉位置指示器來判斷閥門的啟閉和位置。
地 址:上海市金山區興塔工業區
咨詢電話:021-5736 2601
手機號碼:138 1635 7694
電子郵箱:hanyuev@163.com
網 址:http://www.3ebezih.cn