氣動帶手動放料閥產品概述
氣動帶手動放料閥既可以氣缸活塞直行程遠程控制,也可就地通過旋轉執行器上的手輪進行啟閉,帶行程開關、二位三通電磁閥和手動機構,其適用于一些在沒有氣源的情況下也能進行手輪驅動,要求手動與氣動可以互相切換的工況。該閥是我廠為一些沒有氣源就失去了動力源,閥就無法進行開關的工況而設計制造的,它可實現手動和氣動的較快切換,在氣源正常情況下,采用氣動遠程控制放料閥,當氣源壓力暫停,需要開啟或關閉閥門時,啟用手動機構進行人工驅動。本產品方便了閥的安裝和調試,另外也可減輕勞動強度和作業風險。
氣動帶手動放料閥可實現手動和氣動雙重控制,輕松轉動手輪,將切換手柄推移到(分)指示牌,即可實現氣動遠距離控制,當氣源進入電磁閥后,電磁閥自動開啟上(或下)輸氣口,電磁閥接通電源時,閥門自動開啟,斷電時自動關閉,紅色按鈕為手動調試使用開關按鈕,當氣源進入氣缸上部時,將活塞推向下部,即關閉放料閥;當氣源進入氣缸下部時,將活塞推向上部,即開啟閥門。關閉氣源或者在無氣源壓力下,輕松轉動手輪,逐漸使切換手柄推移到(合)指示牌,就可以進行手動操作,轉動手輪,逆時針方向為開,順時針關方向為關。
氣動帶手動放料閥部件材料
序號 | 部件名稱 | 材料名稱 | ||||
1 | 閥 體 | WCB | CF8 | CF3 | CF8M | CF3M |
2 | 閥 蓋 | WCB | CF8 | CF3 | CF8M | CF3M |
3 | 閥 座 | WCB | CF8 | CF3 | CF8M | CF3M |
4 | 閥 桿 | WCB | CF8 | CF3 | CF8M | CF3M |
5 | 支 架 | WCB | CF8 | CF8 | CF8M | CF8M |
6 | 填 料 | GRAPHITE、RPTFE、PTFE、TEFLON、PPL | ||||
7 | 閥 瓣 | WCB | CF8 | CF3 | CF8M | CF3M |
8 | 墊 片 | GRAPHITE | PTFE | PTFE | PTFE | PTFE |
9 | 螺 柱 | 35CrMoA | 06Cr19Ni10 | 06Cr19Ni10 | 06Cr17Ni12Mo2 | 06Cr17Ni12Mo2 |
10 | 螺 母 | 30CrMo | 06Cr19Ni10 | 06Cr19Ni10 | 06Cr17Ni12Mo2 | 06Cr17Ni12Mo2 |
11 | 氣動裝置 | 組合件 | 組合件 | 組合件 | 組合件 | 組合件 |
氣動帶手動放料閥技術規范
公稱壓力PN(MPa) | 0.6 | 1.0 | 1.6 | 2.5 | 2.0 |
殼體強度試驗壓力(MPa) | 0.9 | 1.5 | 2.4 | 3.75 | 3.0 |
高壓水密封試驗壓力(MPa) | 0.66 | 1.1 | 1.76 | 2.75 | 2.2 |
低壓氣密封試驗壓力(MPa) | 0.6 | 0.6 | 0.6 | 0.6 | 0.6 |
設計制造 | JB/T 11489-2013 放料用截止閥 | ||||
連接法蘭 | JB/T 79、GB/T 9113、HG/T 20592、HG/T 20615、SH/T 3406、ASME B16.5等 | ||||
檢驗試驗 | JB/T 11489-2013 放料用截止閥 | ||||
適用溫度 | -60℃ ~ 232℃ | ||||
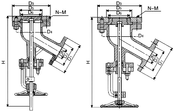
氣動帶手動放料閥連接尺寸
公稱壓力 PN(MPa) | 公稱通徑 DN(mm) | 上展式尺寸(mm) | 下展式尺寸(mm) | ||||||||||
D1 | D2 | D3 | D4 | D5 | D6 | D1 | D2 | D3 | D4 | D5 | D6 | ||
1.6 | 25 | 115 | 85 | 115 | 85 | — | — | 115 | 85 | 135 | 100 | 70 | 40 |
32 | 135 | 100 | 135 | 100 | 70 | 40 | 135 | 100 | 145 | 110 | 75 | 55 | |
40 | 145 | 110 | 145 | 110 | 70 | 50 | 145 | 110 | 160 | 125 | 80 | 60 | |
50 | 165 | 125 | 160 | 125 | 80 | 60 | 160 | 125 | 180 | 145 | 100 | 80 | |
65 | 180 | 145 | 180 | 145 | 95 | 75 | 180 | 145 | 195 | 160 | 135 | 110 | |
80 | 195 | 160 | 195 | 160 | 110 | 90 | 195 | 160 | 225 | 190 | 160 | 135 | |
100 | 215 | 180 | 215 | 180 | 130 | 110 | 215 | 180 | 260 | 225 | 200 | 175 | |
125 | 245 | 210 | 245 | 210 | 160 | 130 | 245 | 210 | 280 | 245 | 200 | 175 | |
150 | 280 | 240 | 280 | 240 | 190 | 150 | 280 | 240 | 335 | 295 | 240 | 210 | |
200 | 335 | 295 | 335 | 295 | 240 | 200 | 335 | 295 | 405 | 355 | 285 | 240 | |
氣動帶手動放料閥結構圖

如果你需訂購我廠放料閥產品,咨詢時煩請提供型號數據,公稱通徑、公稱壓力、閥體材質、使用介質、介質溫度、法蘭標準等,本產品有上展式、下展式、柱塞式等結構形式,咨詢時請詳細說明。
網站首頁