電動不銹鋼球閥產品概述
電動不銹鋼球閥是一種由浮動球或固定球球閥、支架、電動執行機構和附加設施等部件通過螺栓螺母連接而成的工業自動化過程控制的管道壓力元件,其通常用于管線的遠程開關控制,經安裝調試后,使用電作為動力源來接通電動執行器驅動閥桿帶動球體繞閥軸的軸線做旋轉運動,從而實現截斷或接通管路中介質的目的,其中硬密封亦可用作流體流量的調節。該閥閥體、球體和閥桿等主要零件由不銹鋼材料鑄造或鍛造成型,而閥座則可根據不同工況環境,采用RPTFE、PTFE、PPL、PEEK、NYLON等非金屬或不銹鋼材料制成。本產品具有良好的耐酸堿腐蝕性能,因此特適合用在石油、石化、化工、制藥、造紙等工業自動化生產系統中,作遠距離集中控制。
電動不銹鋼球閥部件材料
| 序號 | 部件名稱 | 材料名稱 | |||||
| 1 | 閥 體 | CF8 | CF3 | CF8M | CF3M | 310S | 904L |
| 2 | 左 閥 體 | CF8 | CF3 | CF8M | CF3M | 310S | 904L |
| 3 | 閥 座 | RPTFE、PTFE、TEFLON、NYLON、PPL、PEEK、DEVLON、SS+HF | |||||
| 4 | 球 體 | 304 | 304L | 316 | 316L | 310S | 904L |
| 5 | 閥 桿 | 304 | 304L | 316 | 316L | 310S | 904L |
| 6 | 填 料 | GRAPHITE、R-PTFE、PTFE、TEFLON、PCTFE | |||||
| 7 | 填料壓蓋 | CF8 | CF3 | CF8M | CF3M | 310S | 904L |
| 8 | 電動裝置 | 組合件 | 組合件 | 組合件 | 組合件 | 組合件 | 組合件 |
電動不銹鋼球閥技術參數
| 公稱壓力PN(MPa) | 1.6 | 2.5 | 4.0 | 6.4 | 2.0 | 5.0 |
| 殼體試驗壓力(MPa) | 2.4 | 3.75 | 6.0 | 9.6 | 3.0 | 7.5 |
| 高壓密封試驗壓力(MPa) | 1.76 | 2.75 | 4.4 | 7.04 | 2.2 | 5.5 |
| 低壓密封試驗壓力(MPa) | 0.6 | 0.6 | 0.6 | 0.6 | 0.6 | 0.6 |
| 電動執行器電壓 | 220V或380V | |||||
| 設計制造 | GB/T 12237、GB/T 21385、ASME B16.34、API 608、API 6D | |||||
| 結構長度 | GB/T 12221、ASME B16.10、API 6D | |||||
| 法蘭標準 | JB/T 79、GB/T 9113、HG/T 20592、HG/T 20615、SH/T 3406、ASME B16.5等 | |||||
| 檢驗試驗 | GB/T 26480、JB/T 9092、API 598、API 6D | |||||
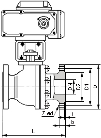
電動不銹鋼球閥主要尺寸
| 公稱壓力 PN | 公稱通徑 DN | 外形及連接尺寸/mm | |||||
| L | D | D1 | D2 | b-f | Z-?d | ||
| 16 | 15 | 130 | 95 | 65 | 45 | 16-2 | 4-14 |
| 20 | 140 | 105 | 75 | 58 | 18-2 | 4-14 | |
| 25 | 150 | 115 | 85 | 68 | 18-2 | 4-14 | |
| 32 | 165 | 140 | 100 | 78 | 18-2 | 4-18 | |
| 40 | 180 | 150 | 110 | 88 | 18-2 | 4-18 | |
| 50 | 200 | 165 | 125 | 102 | 18-2 | 4-18 | |
| 65 | 220 | 185 | 145 | 122 | 18-2 | 8-18 | |
| 80 | 250 | 200 | 160 | 138 | 20-2 | 8-18 | |
| 100 | 280 | 220 | 180 | 158 | 20-2 | 8-18 | |
| 125 | 320 | 250 | 210 | 188 | 22-2 | 8-18 | |
| 150 | 360 | 285 | 240 | 212 | 22-2 | 8-22 | |
| 200 | 400 | 340 | 295 | 268 | 24-2 | 12-22 | |
| 250 | 450 | 405 | 355 | 320 | 26-2 | 12-26 | |
| 表中為HG/T 20592-2009標準PN16法蘭連接浮動球球閥尺寸,如需其他尺寸,請咨詢汗越閥門技術部! | |||||||
電動不銹鋼球閥結構圖

如果你需訂購我廠不銹鋼球閥產品,咨詢時煩請注明產品規格型號,如無法提供,請說明公稱通徑、公稱壓力、閥體和內件材質、使用介質、工作溫度等,本產品電動執行機構可選用普通開關型、調節型、防爆型等。
網站首頁