CS45H鐘形浮子式蒸汽疏水閥產品概述
CS15H、CS45H鐘形浮子式蒸汽疏水閥是根據蒸汽和凝結水比重不同的原理工作,當蒸汽進入倒置桶內時,使桶浮起來,帶動閥芯關閉閥門,隨著溫度下降,蒸汽冷凝成水,改變桶的浮力,使其下沉,打開蒸汽疏水閥放出凝結水。當生產設備開始啟動時,倒置桶處于閥體底部,使閥芯呈開啟位置,低溫凝結水和空氣迅速排放出去,閥內溫度升高后,但仍被水充滿,閥芯處于初始狀態,高溫凝結水繼續排放出去,凝結水快排盡時,蒸汽充滿桶上部,其浮力使桶上升,帶動閥芯關閉,隨著溫度下降,蒸汽凝結成水,桶失去浮力而下沉,導致閥芯開啟排水。該閥采用杠桿機構增加開、關閥力,加大排量,減小體積,浮動閥芯軟著陸,動作靈活,使用時間長,阻汽排水性能好,自動排除空氣,允許背壓度可達80%,抗污垢能力強,便于維修,與同類蒸汽疏水閥相比,體積小、排量大。本產品可連續排水,也可間斷排水,適應性較強,在設計上保留有水封,即使在冷凝水量很少時也沒有蒸汽泄漏。
CS45H鐘形浮子式蒸汽疏水閥部件材料
序號 | 部件名稱 | 材料名稱 | ||||
1 | 閥 體 | A216 WCB | A217 WC6 | A351 CF8 | A351 CF8M | A351 CF3M |
2 | 閥 蓋 | A216 WCB | A217 WC6 | A351 CF8 | A351 CF8M | A351 CF3M |
3 | 倒 置 桶 | A240 304 | A240 304 | A240 304 | A240 316 | A240 316L |
4 | 閥 桿 | A240 304 | A240 304 | A240 304 | A240 316 | A240 316L |
5 | 閥 芯 | A276 430 | A276 430 | A276 304 | A276 316 | A276 316L |
6 | 閥 座 | A276 430 | A276 430 | A276 304 | A276 316 | A276 316L |
7 | 過 濾 網 | A240 304 | A240 304 | A240 304 | A240 316 | A240 316L |
8 | 堵 頭 | A105 | A182 F11 | A182 304 | A182 316 | A182 316L |
9 | 螺 栓 | A193 B7 | A193 B16 | A193 B8 | A193 B8M | A193 B8M |
10 | 螺 母 | A194 2H | A194 4 | A194 8 | A194 8M | A194 8M |
CS45H鐘形浮子式蒸汽疏水閥性能規范
公稱壓力PN(MPa) | 1.6 | 2.5 | 4.0 | 2.0 | 5.0 |
殼體試驗壓力(MPa) | 2.4 | 3.75 | 6.0 | 3.0 | 7.5 |
設計制造 | GB/T 22654-2008 蒸汽疏水閥 技術條件 | ||||
結構長度 | GB/T 12250-2005 蒸汽疏水閥 術語、標志、結構長度 | ||||
連接法蘭 | JB/T 79、JB/T 82、GB/T 9113、GB/T 9115、HG/T 20592、HG/T 20615、ASME B16.5等 | ||||
螺紋標準 | GB/T 7306.1、GB/T 7306.2、GB/T 7307、GB/T 12716、ASME B1.20.1等 | ||||
檢驗驗收 | GB/T 12251-2005 蒸汽疏水閥 試驗方法 | ||||
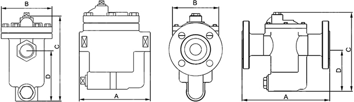
CS45H鐘形浮子式蒸汽疏水閥外型尺寸
公稱壓力 PN | 公稱通徑 DN | 法蘭連接結構尺寸(mm) | 螺紋連接結構尺寸(mm) | ||||||
A | B | C | D | A | B | C | D | ||
16 ~ 40 (Class150)20 | 15 | 170 | 102 | 166 | 94 | 127 | 102 | 166 | 94 |
20 | 170 | 102 | 166 | 94 | 127 | 102 | 166 | 94 | |
25 | 170 | 102 | 166 | 94 | 127 | 102 | 166 | 94 | |
32 | 230 | 142 | 290 | 160 | 200 | 142 | 290 | 160 | |
40 | 230 | 142 | 290 | 160 | 200 | 142 | 290 | 160 | |
50 | 230 | 142 | 290 | 160 | 200 | 142 | 290 | 160 | |
65 | 310 | 142 | 290 | 160 | — | — | — | — | |
CS45H鐘形浮子式蒸汽疏水閥結構圖

如果你需訂購我廠蒸汽疏水閥產品,咨詢時煩請注明類型、型號規格、殼體和內件材料、進出口壓力、壓差、操作溫度及使用場合(如加熱設備、蒸汽主管線、伴熱管線等)。
網站首頁