直通式T型過濾器產品概述
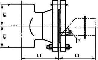
直通式T型過濾器是一種由三通管件、法蘭、法蘭蓋、濾芯和濾芯擋圈等組成的三通直流式過濾器,其法蘭通過電焊工藝焊接在三通的管口上組成殼體,橢圓型濾芯擋圈斜置焊裝在三通的直通管形的內部,圓柱型濾芯放置于凸出管形的內部,一端安放在橢圓型濾芯擋圈上,另一端用法蘭蓋壓緊固定并通過螺栓螺母連接在殼體法蘭上,該濾芯由濾筒和安裝在濾筒內的濾網兩部分組成,當流體由過濾器左端進口進入置有一定規格濾網的濾筒后后,其雜質被阻擋,而清潔的濾液則由右端出口排出。
直通式T型過濾器在法蘭蓋上設有排污口,當需要清洗時,只要把法蘭蓋上的排放絲堵擰開,把濾液排凈,然后將可拆卸的濾筒取出,清洗干凈后重新裝入即可,其可根據用戶實際工況需要選用《SH/T 3411-1999石油化工泵用過濾器選用、檢驗及驗收》、《GB/T 14382-2008管道用三通過濾器》和《HG/T 21637-2021化工管道過濾器系列》等標準設計和制造。
直通式T型過濾器部件材料
| 序號 | 部件名稱 | 材料名稱 | ||||
| 1 | 三通管件 | 20 | 15CrMo | 304 | 316 | 316L |
| 2 | 法 蘭 | A105 | 15CrMo | 304 | 316 | 316L |
| 3 | 法 蘭 蓋 | Q235B | 15CrMo | 304 | 316 | 316L |
| 4 | 濾 芯 | 304 | 304 | 304 | 316 | 316L |
| 5 | 密封墊片 | 聚四氟乙烯、金屬環形墊、金屬纏繞墊(帶內外環) | ||||
| 6 | 濾芯擋圈 | Q235B | 15CrMo | 304 | 316 | 316L |
| 7 | 螺 柱 | 35CrMoA | 35CrMoA | 304 | 316 | 316 |
| 8 | 螺 母 | 30CrMo | 30CrMo | 304 | 316 | 316 |
| 9 | 排污絲堵 | 304 | 304 | 304 | 316 | 316L |
直通式T型過濾器技術規范
| 公稱壓力PN(MPa) | 1.6 | 2.5 | 4.0 | 2.0 | 5.0 |
| 殼體試驗壓力(MPa) | 2.4 | 3.75 | 6.0 | 3.0 | 7.5 |
| 密封試驗壓力(MPa) | 1.76 | 2.75 | 4.4 | 2.2 | 5.5 |
| 設計制造 | SH/T 3411-2017、GB/T 14382-2008、HG/T 21637-2021 | ||||
| 對焊接端 | 按GB/T 12224-2005或ASME B16.25-2017的規定 | ||||
| 檢驗試驗 | SH/T 3411-2017、GB/T 14382-2008、HG/T 21637-2021 | ||||
| 工作溫度 | -196℃ ~ 540℃ | ||||
| 過濾精度 | 20μm ~ 16000μm | ||||
直通式T型過濾器主要尺寸
| 公稱壓力 PN | 公稱尺寸 DN | 安裝尺寸mm | 過濾面積 cm2 | 排污口N | ||
| L0 | L1 | L2 | 管螺紋 | |||
| 16 | 50 | 64 | 112 | 142 | 72 | R? |
| 65 | 76 | 121 | 155 | 108 | R? | |
| 80 | 86 | 136 | 176 | 148 | R? | |
| 100 | 105 | 157 | 207 | 190 | R? | |
| 125 | 124 | 179 | 242 | 320 | R? | |
| 150 | 143 | 198 | 273 | 408 | R? | |
| 200 | 178 | 240 | 341 | 899 | R? | |
| 250 | 216 | 280 | 415 | 1290 | R? | |
| 300 | 254 | 332 | 486 | 1954 | R? | |
| 350 | 279 | 361 | 531 | 2445 | R? | |
| 400 | 305 | 390 | 585 | 3092 | R? | |
| 25 | 50 | 64 | 112 | 142 | 72 | R? |
| 65 | 76 | 128 | 162 | 108 | R? | |
| 80 | 86 | 144 | 184 | 148 | R? | |
| 100 | 105 | 170 | 220 | 190 | R? | |
| 125 | 124 | 192 | 255 | 320 | R? | |
| 150 | 143 | 218 | 293 | 408 | R? | |
| 200 | 178 | 258 | 359 | 899 | R? | |
| 250 | 216 | 296 | 425 | 1290 | R? | |
| 300 | 254 | 346 | 500 | 1954 | R? | |
| 350 | 279 | 379 | 549 | 2445 | R? | |
| 400 | 305 | 415 | 610 | 3092 | R? | |
| 40 | 50 | 64 | 112 | 142 | 72 | R? |
| 65 | 76 | 128 | 162 | 108 | R? | |
| 80 | 86 | 144 | 184 | 148 | R? | |
| 100 | 105 | 170 | 220 | 190 | R? | |
| 125 | 124 | 192 | 255 | 320 | R? | |
| 150 | 143 | 218 | 293 | 408 | R? | |
| 200 | 178 | 266 | 367 | 899 | R? | |
| 250 | 216 | 304 | 433 | 1290 | R? | |
| 300 | 254 | 359 | 513 | 1954 | R? | |
| 350 | 279 | 404 | 574 | 2445 | R? | |
| 400 | 305 | 440 | 625 | 3092 | R? | |
| (Class150) 20 | 50 | 64 | 128 | 158 | 72 | R? |
| 65 | 76 | 146 | 180 | 108 | R? | |
| 80 | 86 | 156 | 196 | 148 | R? | |
| 100 | 105 | 181 | 220 | 190 | R? | |
| 125 | 124 | 213 | 265 | 320 | R? | |
| 150 | 143 | 232 | 297 | 408 | R? | |
| 200 | 178 | 280 | 370 | 899 | R? | |
| 250 | 216 | 318 | 433 | 1290 | R? | |
| 300 | 254 | 368 | 508 | 1954 | R? | |
| 350 | 279 | 406 | 561 | 2445 | R? | |
| 400 | 305 | 432 | 610 | 3092 | R? | |
| (Class300) 50 | 50 | 64 | 134 | 164 | 72 | R? |
| 65 | 76 | 152 | 186 | 108 | R? | |
| 80 | 86 | 165 | 205 | 148 | R? | |
| 100 | 105 | 191 | 230 | 190 | R? | |
| 125 | 124 | 222 | 276 | 320 | R? | |
| 150 | 143 | 241 | 306 | 408 | R? | |
| 200 | 178 | 289 | 379 | 899 | R? | |
| 250 | 216 | 333 | 448 | 1290 | R? | |
| 300 | 254 | 384 | 524 | 1954 | R? | |
| 350 | 279 | 422 | 577 | 2445 | R? | |
| 400 | 305 | 451 | 629 | 3092 | R? | |
直通式T型過濾器結構圖

如果你需訂購我廠T型過濾器產品,咨詢時煩請說明產品類型,產品設計制造標準、法蘭執行標準、公稱通徑、公稱壓力、濾芯材質、過濾介質及過濾精度,是否配對法蘭、螺栓螺母及墊片等,以上尺寸參數為我公司按《GB/T 14382-2008管道用三通過濾器》標準提供,本產品宜安裝在直管段部位。
網站首頁