雙聯切換過濾器產品概述
雙聯切換過濾器是一種通過兩臺三通球閥將兩個相同的單筒過濾器組裝在一個機座上,更換其中之一時,只需扳動設置在三通球閥上的手柄即可實現切換,從而保障在不停機的情況下方便清洗和更換濾芯的雙聯過濾器。其頂蓋上焊接有便于提拉的把手和可供拆卸時排放筒內空氣用的放空絲堵,筒體下方裝有排污螺塞,以便于排除筒體內污物。頂蓋和筒體間采用六角螺栓與法蘭圈配合使用而固定,維修時便于拆卸,三通球閥與接管間通過平焊法蘭和雙頭螺栓連接。
雙聯切換過濾器采用兩個單筒過濾器關聯組合結構,并通過三通球閥進行連接,這樣,需要清洗過濾器時,只要轉動三通球閥手柄將需要清洗的單筒過濾器的進水口和出水口斷開,就可單獨清洗該單筒過濾器,而另一個單筒過濾器可正常使用,這樣就保障了工業管路處于連續工作狀態。其亦可單筒使用,只需去掉共同機座,其余尺寸不變。本產品結構新穎合理,操作簡便,密封性好,流通能力強,可以連續工作且整個切換過程可以實現過濾器前、后無壓差變化。
雙聯切換過濾器部件材料
| 序號 | 部件名稱 | 材料名稱 | ||||
| 1 | 筒 體 | Q235B | 20# | 304 | 316 | 316L |
| 2 | 接 管 | Q235B | 20# | 304 | 316 | 316L |
| 3 | 法 蘭 | Q235B | Q235B | 304 | 316 | 316L |
| 4 | 頂 蓋 | Q235B | Q235B | 304 | 316 | 316L |
| 5 | 濾 籃 | S30408 | S30408 | 304 | 316 | 316L |
| 6 | 螺 栓 | 35CrMoA | 35CrMoA | 304 | 316 | 316 |
| 7 | 螺 母 | 30CrMoA | 30CrMoA | 304 | 316 | 316 |
| 8 | 三通球閥 | WCB | WCB | CF8 | CF8M | CF3M |
雙聯切換過濾器性能規范
| 公稱壓力PN(MPa) | 0.25 | 0.6 | 1.0 | 1.6 | 2.5 |
| 殼體強度試驗壓力(MPa) | 0.375 | 0.9 | 1.5 | 2.4 | 3.75 |
| 密封性能試驗壓力(MPa) | 0.275 | 0.66 | 1.1 | 1.76 | 2.75 |
| 設計制造 | SH/T 3411-1999、JB/T 7538-2016、HG/T 21637-1991 | ||||
| 法蘭標準 | JB/T 81~82、GB/T 9115~9119、HG/T 20592~20615、SH/T 3406、ASME B16.5 | ||||
| 檢驗驗收 | SH/T 3411-1999、JB/T 7538-2016、HG/T 21637-1991 | ||||
| 過濾精度 | 0.02mm ~ 16.0mm | ||||
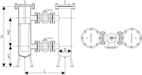
雙聯切換過濾器主要尺寸
| 公稱壓力 PN | 公稱通徑 DN | 結構尺寸/mm | ||||
| L | D | H | H1 | H2 | ||
| 10 | 25 | 360 | 76 | 520 | 240 | 220 |
| 32 | 400 | 76 | 550 | 240 | 250 | |
| 40 | 480 | 108 | 700 | 300 | 300 | |
| 50 | 500 | 108 | 720 | 300 | 320 | |
| 65 | 590 | 133 | 838 | 358 | 350 | |
| 80 | 620 | 159 | 995 | 395 | 450 | |
| 100 | 720 | 219 | 1075 | 435 | 460 | |
| 125 | 860 | 273 | 1260 | 520 | 520 | |
| 150 | 940 | 273 | 1355 | 535 | 570 | |
| 200 | 1110 | 325 | 1585 | 605 | 680 | |
| 250 | 1330 | 426 | 1680 | 600 | 730 | |
| 300 | 1470 | 450 | 1960 | 700 | 780 | |
雙聯切換過濾器結構圖

如果你需訂購我廠管道過濾器產品,咨詢時煩請提供規格型號,公稱通徑、公稱壓力、殼體材質、過濾網材質及過濾精度,如果是法蘭連接的,請說明法蘭標準、法蘭密封面形式等,本產品過濾元件,除采用不銹鋼濾芯外,亦可采用PP濾袋過濾掉粒徑5微米以上的顆粒(本過濾器亦可根據客戶實際情況進行設計制造)。
網站首頁