在水壓傳動元件中,三通球閥是一種應用很廣泛的結構形式。如換向閥、先導控制閥、插裝閥和閥配流式柱塞泵的配流閥等均可采用三通球閥形式。因為可以直接選用硬度高、耐腐蝕性好的陶瓷球作閥心,與耐蝕合金相比,能較好地抵御高壓下海水介質的氣蝕、流體侵蝕及腐蝕磨損,且結構簡單。因此陶瓷三通球閥在水壓傳動元件中有較大的實用價值。與礦物油相比,由于水的粘度低,水在三通球閥閥口中流動時的雷諾數較大,其流態及流量特性會產生根本的變化,傳統的油壓閥的設計理論對水壓三通球閥不再適用。國內外對以水作介質的錐閥和平板閥的流量特性已進行了試驗研究,所得出的試驗結論對水壓閥的設計有一定的指導意義。但對于水壓三通球閥的流量特性尚未見到有關的研究報道。
對水壓三通球閥閥口的流量特性進行試驗研究,以掌握閥口的結構參數與流量特性間的規律,為球閥閥口的結構設計提供試驗依據。

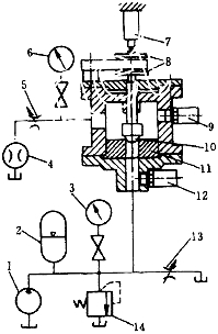
1.水壓泵 2.蓄能器 3、6.壓力表 4.流量傳感器 5/13.節流閥 7.位移傳感器 8.調節螺母 9/12.壓力傳感器 10.鋼球 11.閥座 14.安全閥
圖1 三通球閥閥口流量特性的試驗裝置原理圖
圖1為研制的三通球閥閥口流量特性試驗裝置原理圖。閥口進、出口壓力分別由節流閥13和5調節,并分別由壓力傳感器12和9測量。通過閥口的流量由流量傳感器4測量。位移傳感器7用于測量閥口開度。調節螺母8用于調節閥口開度。通過更換閥座11,便可對不同結構參數的三通球閥閥口的流量特性進行試驗研究。
地 址:上海市金山區興塔工業區
咨詢電話:021-5736 2601
手機號碼:138 1635 7694
電子郵箱:hanyuev@163.com
網 址:http://www.3ebezih.cn