1 主題內容與適用范圍
本標準規定了石油氣體管道阻火器(以下簡稱阻火器)的技術要求和阻火性能試驗方法。
本標準規定的阻火器適用于阻止管端回火焰通過阻火器向管道來氣方向傳播。
根據阻止回火火焰的傳播速度范圍可分:
a. 阻爆燃型阻火器;
b. 阻爆轟型阻火器。
2 引用標準
GB 1336防爆電氣設備制造檢驗規程
GB 979碳素鋼鑄件分類及技術條件
GB 9112鋼制管法蘭類型
GB/T 13306標牌
JB 2759機電產品包裝通用技術條件
3 技術要求
3.1 性能
3.1.1 阻火器殼體強度應能承受1.5倍于設計壓力的水壓試驗,無滲漏。
3.1.2 阻火器組裝后應能承受設計壓力的嚴密性液壓試驗,無滲漏。
3.1.3 阻爆燃型阻火器必須連續經受13次阻爆燃試驗,每次必須阻止亞音速火焰通過。
3.1.4 阻爆轟型阻火器必須連續經受13次阻爆燃試驗,每次必須阻止超音速火焰通過。
3.2 材料
3.2.1 阻火器殼體應采用碳素鋼,其性能應符合GB 979規定,也可采用其他等效材料。
3.2.2 阻火層必須選用在使用條件下耐腐蝕的不銹鋼材料。
3.2.3 阻火層內連接處的墊片應采用不燃材料。
3.3 連接型式
3.3.1 阻火器的連接型式為法蘭連接。
3.3.2 阻火器連接法蘭應符合GB 9112規定。
3.3.3 阻火器殼體上連接部分隔爆接合面的間隙要求應符合GB 1336規定。
4 試驗方法
4.1 水壓試驗
4.1.1 水壓試驗必須使用兩個量程相同并經過校正的壓力表,其精度不低于1.5級,表的滿刻度值為最大測壓力的1.5~2.0倍。
4.1.2 阻火器殼體在進行水壓試驗時,升壓應緩慢,達到試驗壓力后,歷時不小于10min,其結果應符合3.1.1規定。
4.2 阻火性能試驗
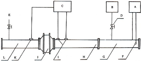
4.2.1 阻火性能試驗裝置見圖1,由引爆管段、火焰加速管段和觀察段組成,引爆管段和火焰加速管段總長度不小于6m,觀察管段長度不小于3m,其直徑與被測阻火器公稱通徑相同。在引爆管段和觀察管段端部分設置進氣管和出氣管。

圖1 阻火器測試裝置示意圖
A-電火花引爆器;B-配氣系統;C-測量系統;D-真空閥;E-出氣管;F-點火電極;G-引爆管段;H-火焰加速管段;I-傳感器;J-被測試阻火器;K-火焰探測器;L-觀察管段
4.2.2 在觀察管段上安裝火焰探測器,以檢測阻火器是否阻火。
4.2.3 引爆管段點火的一端應封閉,觀察管段的末端在引爆前應打開。
4.2.4 點火電極應安裝在距引爆管段封閉端面50mm處。
4.2.5 阻爆燃試驗在火焰加速管段上分別安裝兩個火焰速度傳感器以測量火焰傳播速度,靠近阻火器的火焰速度傳感器距阻火器法蘭端面距離應不大于100mm,兩個火焰傳感器間距為100mm。
4.2.6 阻爆轟試驗在火焰加速管段分別安裝兩個壓力傳感器,以測量火焰傳播速度和爆轟波壓力。
4.2.7 試驗介質用純度為99%的丙烷與空氣的混合氣,其中阻爆燃試驗丙烷氣體積濃度為4.3%±0.2%。阻爆轟試驗丙烷氣體積濃度為7.2%±0.2%。
4.2.8 試驗介質采用靜態等容分壓法配氣,氣體預混時間不應小于4h。然后取樣分析,試驗介質濃度必須達到4.2.7規定。
4.2.9 采用高壓脈沖電容器作為點火電源,點火能量應不大于16J。由脈沖電容器通過點火電極放電點燃試驗裝置內4.2.7條規定的試驗介質。
4.2.10 試驗裝置應采用壓縮空氣清掃后,用真空泵從出氣管抽真空,其絕對壓力應不大于1.33kPa,這樣清掃兩次后,試驗介質方可從進氣管輸入。
4.2.11 試驗在常壓下進行,從觀察管段上火焰探測器的信號來判斷阻火器是否阻止火焰傳播。
4.2.12 試驗裝置內火焰傳播速度應由4.2.5、4.2.6 條規定的火焰速度傳感器或壓力傳感器和相應的儀器測出。
4.2.13 試驗結果必須符合3.1.3 和3.1.4 條規定。每次試驗結果后應按4.2.10 條規定清掃試驗裝置的殘余氣體,然后再進行下一次試驗。
5 檢驗規則
5.1 出廠檢驗
阻火器出廠時應進行強度試驗和嚴密性試驗。裝配質量和外觀質量檢查,合格后方可出廠。
5.2 型式檢驗
首批生產的阻火器,或當其設計、工藝、材料有重要變更時,均應按本標準在指定單位進行阻火性能試驗,其試驗數量應不少于2 臺。經檢驗合格,應取得檢驗合格證后方可投產。
6 標志、包裝、運輸和貯存
6.1 每臺阻火器應在明顯部位固定永久性產品標牌,標牌應符合GB/T 13306 規定,并說明:
a. 制造廠名;
b. 產品名稱;
c. 規格型號;
d. 阻火速度(上限速度值);
e. 制造日期;
f. 重量。
6.2 阻火器非加工表面應涂防銹底漆,外表面涂紅色油漆二遍,并用白漆標出流向。涂漆均勻,色澤光亮。法蘭面應涂防銹油脂并用塑料護蓋防護,整體用塑料膜包扎。包裝應該符合JB 2579 的規定。
6.3 阻火器應存放在有防雨設施的倉庫中。
6.4 每臺阻火器出廠附下列文件:
a. 裝箱單;
b. 產品說明書;
c. 產品合格證;
d. 壓力試驗和嚴密性試驗報告。
地 址:上海市金山區興塔工業區
咨詢電話:021-5736 2601
手機號碼:138 1635 7694
電子郵箱:hanyuev@163.com
網 址:http://www.3ebezih.cn